最近关于电竞圈的消息是大家都在关注的,这两天这方面也一直被讨论,说实话,现在的电竞行业处于一个非常尴尬的阶段,到底要把电竞放在哪个位置呢?跟传统体系放在一起,感觉也不受待见。

自立一派则会被群众反感,主要是电竞行业最早的时候就是大家最不待见的游戏,游戏发展的很快,很多未成年人会被游戏的精美设计所吸引,因此在很多家长眼里,游戏就是罪大恶极的,影响孩子学习的罪魁祸首。

游戏行业一出来就是人人喊打的项目,真的是过街老鼠一般的存在,而国外对于游戏行业的接纳程度比较高,很快就将游戏列入了正式项目,在这方面做的比较突出的是韩国,他们已经将电竞看的跟传统体系一样重要。

而我们却做不到这一点,就从电视转播这方面来看就行,目前基本上都是传统体育的天下,很多电竞圈的人都感叹,但是什么时候电竞行业才会被重视呢?还真别说,这样的机会似乎马上就要来了。

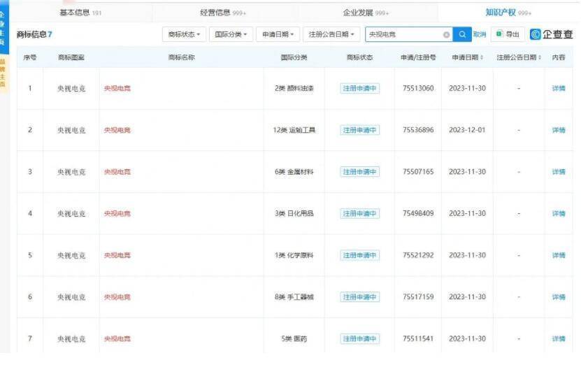
最近有网友表示,2024年电竞将有大突破,因为央视在最近的一个举动意义非凡,因为他们正准备全面转播比赛,大家发现中央广播电视总台申请注册多个“央视电竞”商标,如果是这样的话,只有一个可能,就是电竞要在CCTV转播了。

这是非常有意义的一件事,电竞行业,或者说游戏行业将正式步入所有人的视野,而不单单是电竞圈的事,想要让大众认可,这是非常重要的一步,让所有人都知道,游戏打得好是可以有出息的,甚至可以为国争光。

当然了,央视转播电竞比赛目前只是猜测,并没有证实,就算是这么多,电竞行业也不会因为被央视转播就马上能得到大家的认可,电竞行业还是很长的路要走,不过前途一片光明,肯定会越来越好的,对此你们有什么想说的吗?